¿Pueden los AirPods leer señales cerebrales? La ciencia y este estudio de Apple dicen que sí
Los AirPods de Apple son capaces de ofrecer muchas prestaciones de audio, ¿pero ahora se supone que también te leen el cerebro?
La inteligencia artificial está presente en todas partes y lo cierto es que da miedo. Resulta atemorizante el mero hecho de publicar una fotografía de tu hijo/a y que quede registrada para siempre en los servidores de la IA —de donde nada sale por toda la eternidad— y en el futuro puedan crear versiones falsas de su identidad. Pero será aún más temible cuando la IA se integre en accesorios y wearables como los AirPods de Apple, especialmente si son capaces de leer tu mente... O, como en este caso, leer tu actividad cerebral.
Un estudio reciente llevado a cabo por los investigadores de Apple sugiere que los auriculares inalámbricos de la firma californiana tendrán la capacidad de leer señales cerebrales. Mientras que, por una parte, esta funcionalidad puede llegar a ser muy beneficiosa y ventajosa para los usuarios del ecosistema de Apple... por otra parte, asusta.
Los AirPods pueden leer tu actividad cerebral, pero tranquilo/a no lo harán pronto

AirPods 4 de Apple / Fotografía: Sergio J. Ortiz
Un estudio denominado "Aprendiendo la composición relativa de las señales EEG (electroencefalograma) usando un pre-entrenamiento relativo de emparejamiento" de Apple ha dado paso a una gran novedad para la firma californiana. Apple introduce PARS, un término adecuado para abreviar "Cambio Relativo por Pares", según sus siglas en inglés.

Muestras aleatorias de ventanas PARS
Los modelos actuales se centran en los datos recogidos de la actividad cerebral humana durante la monitorización del sueño, sí, los AirPods podrán leer tu cerebro mientras duermes indicando los segmentos correspondientes al despertar y a las fases REM, NREM 1, NREM 2 y NREM 3. Las fases NREM significan "No REM" pero son cruciales para la recuperación física y mental y para la reparación de la piel y nuestro organismo.
Las fases REM (Movimientos Oculares Rápidos) pertenecen a las etapas del sueño en la que mayor actividad cerebral tiene el ser humano.
Presentamos el preentrenamiento PARS (Pairwise Relative Shift), una novedosa tarea de pretexto que predice cambios temporales relativos entre pares de ventanas de EEG muestreados aleatoriamente. A diferencia de los métodos basados en la reconstrucción, que se centran en la recuperación de patrones locales, PARS facilita que los codificadores capturen la composición temporal relativa y las dependencias de largo alcance inherentes a las señales neuronales.
Capacidades de los AirPods con EEG
Hasta ahora, el modelo de Apple se ha entrenado bajo las siguientes prestaciones:
- Clasificación del sueño con wearables (EESM17)
- Detección de EEG anormal (TUAB)
- Detección de crisis epilépticas (TUSZ)
- Imaginación motora (PhysioNet-MI)

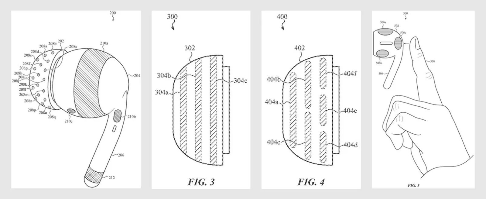
AirPods con EEG (electroencefalografía)
Lo que Apple ha hecho es conseguir un modelo de aprendizaje automático que sea capaz de predecir cuánto tardan en sucederse los diferentes segmentos de la actividad cerebral basándose en datos recogidos por los AirPods con función de electroencefalograma (EEG) y los resultados son prometedores.
Los auriculares con EEG usan diferentes electrodos con respecto a un sistema más tradicional, pero es capaz de ofrecer una lectura de las señales cerebrales bastan clínica y precisa. Recientemente, los AirPods Pro 3 recibieron la bienvenida de un nuevo sensor para medir el ritmo cardíaco. Por ahora, Apple solo ha estado jugando con patentes, pero en un futuro no muy lejano los AirPods te brindarán medidas de la actividad cerebral de tu sueño con una gran precisión para ayudarte a saber qué días has dormido mejor y qué puedes hacer para que tu descanso sea mayor.
Quizá veamos los primeros indicios relacionados con la lectura de las señales de actividad cerebral con la futura versión de los AirPods Pro 3, que en teoría contará con prestaciones más avanzadas como sucede en el caso de los AirPods 4 con y sin cancelación de ruido que analizábamos por aquí. Ya falta menos para llegar a 'Black Mirror'.
Puedes seguir a iPadizate en Facebook, WhatsApp, Twitter (X) o consultar nuestro canal de Telegram para estar al día con las últimas noticias de tecnología.